Не нашли, что искали отправьте ваш запрос на e-mail: info@inhouse-spb.ru в свободной форме.
Звоните по номеру телефона +7(812) 67-932-67, пн-пт 10-19 часов.
Агрегаты выпускаются в 4-х модификациях.
- ЦФ-5000 -без вентилятора
- ЦФС-5000 без вентилятора с системой самоочистки
- ЦФВ-5000 агрегатированные с вентилятором
- ЦФВC-5000 агрегатированные с вентилятором и с системой самоочистки
Пылеулавливающие агрегаты ЦФ (далее фильтры) предназначены для улавливания различных видов сухой, не слипающейся, средне дисперсной пыли с нагрузкой до 1000 мг/м3. Фильтры имеют 3 ступени очистки: 1-я ступень - очистка воздуха от крупно дисперсной пыли путём его тангенциальной подачи в корпус фильтра (циклонный эффект); 2-я ступень – очистка воздуха средне и мелко дисперсной пыли жалюзийным сепаратором; 3-я ступень – окончательная очистка воздуха фильтром тонкой очистки на бумажно-тканевой основе (картридж). Наличие трёх ступеней обеспечивает общую степень очистки до 99%.
Фильтры рекомендуются для очистки загрязнённого воздуха при работах на всех типах заточного и шлифовального оборудования, обдирных станках, в дробильно размольных цехах и других пылящих производствах, а также при камнеобработке.
Внимание: не использовать фильтры в процессах, образующих пожароопасные составляющие в пыли (бумага, дерево, резина и т.д).!
Фильтры ЦФ всех модификаций должны соответствовать ТУ 3646-005-11161094-2016.
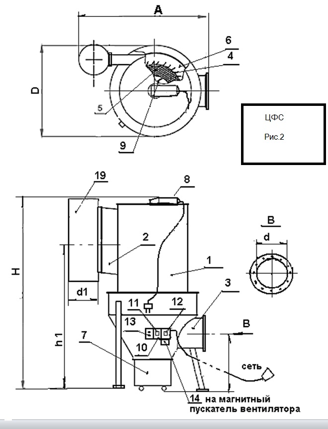
Фильтры всех модификаций (рис.1-2) состоят из нижней и верхней части корпуса 1 с входным 2 и выходным 3 патрубками.
Входной патрубок 2 установлен тангенциально оси фильтра, за счёт чего обеспечивается циклонный эффект (1-я ступень очистки).
В верхней части корпуса 1 размещены: сепаратор 4 (2-я ступень очистки) и картридж 5 на бумажно-тканевой основе (3-я ступень очистки).
Корпус 1 имеет съемную крышку 6.
В нижней части корпуса 1 размещен пылесборник 7.
Фильтры ЦФС, ЦФВС (рис.2,3) снабжены механизмом автоматической очистки фильтрующего элемента 5.
Механизм очистки состоит из высокооборотного электродвигателя 8, соединенного с лопаточным механизмом 9, который установлен внутри картриджа 5.
Электродвигатель 8 с блоком управления 10 установлены на крышке 6 верхней части корпуса 1 (см. рис.2, 3).
На блоке 10 расположены кнопка 11 автономного включения и кнопка 12 (красного цвета) аварийного выключения двигателя 8 .
Подключение блока 10 к электросети U=220В осуществляется через штепсельный разъем 13. Для предотвращения выбросов вредных веществ во входной воздуховод при автоматической очистке фильтрующего элемента 5 на входном патрубке 2 установлен патрубок 19 с обратным клапаном. Фильтры ЦФВ и ЦФВС (рис.2) имеют вентилятор 15 и глушитель 16, который крепится к корпусу 1 хомутом 18.
Вентилятор 15 установлен на основании 17, а его входной патрубок соединен с выходным патрубком 3.
Подключение вентилятора 15 к электросети U220/380В осуществляется посредством пускового устройства 20 и кабеля со штепсельным разъемом 14.
Предприятие-изготовитель имеет право внесения изменений в конструкцию, не ухудшающих эксплуатационных характеристик фильтра.
ГАРАНТИЯ НА ТОВАР
Гарантия качества товара - поручительство продавца, что товар не имеет недостатков. Покупатель имеет право, получая товар от продавца произвести осмотр и убедится в качестве товара. Магазин InHouse предоставляет гарантии качества и возможности осмотра товара.
Гарантийный срок устанавливается на основной товар и его части, эти сроки могут отличаться.
Гарантийный срок – период времени за который покупатель может обратиться к продавцу или производителю в случае обнаружения скрытых недостатков или брака товара. Получая претензию, продавец имеет право произвести экспертизу товара для подтверждения, что недостатки являются производственным браком. Срок гарантии могут устанавливать производитель, что указывается в гарантийном талоне или если нет гарантии от производителя, то продавец. В магазине InHouse гарантийный срок составляет 12 месяцев.
ГАРАНТИЙНОЕ ОБСЛУЖИВАНИЕ.
Гарантийное обслуживание осуществляется авторизированным сервисным центром при наличии гарантийного талона или чека. Адреса и телефоны сервисных центров указаны в гарантийном талоне или их можно узнать в нашем магазине.
При обращении на гарантийное обслуживание возможны варианты решения:
- устранение недостатков товара в сервисных центрах производителя;
- обмен на такой же товар без доплаты;
- обмен на другой товар с доплатой;
- возврат товара и денежных средств покупателю.
ВОЗВРАТ ИЛИ ОБМЕНА ТОВАРА.
Потребитель имеет право вернуть или обменять купленный товар в Интернет-магазине InHouse в течении 14 дней, не считая дня его покупки.
Возврат или обмен товара покупателем должен быть заранее согласован с менеджером магазина по телефону (812) 679-32-67 или на e-mail магазина: info@inhouse-spb.ru о дате, когда и как будет произведен возврат или обмен товара.
Обмен и возврат качественного товара:
- Нет следов в эксплуатацию и имеет товарный вид,
- находится в упаковке со всеми ярлыками,
- документы или чеки, подтверждающие факт покупки товара в нашем магазине,
- товар не входит в перечень продуктов надлежащего качества, не подлежащих возврату и обмену.
Покупатель имеет право обменять товар надлежащего качество на другой товар с равной ценой, на товар с доплатой или возвратом разницы в цене.
Обмен и возврат некачественного товара
После приобретения товара и обнаружения недостатков покупатель имеет право потребовать замену у продавца. Замена должна быть выполнена в течении 7 дней со дня предъявления требования. В случае, если будет назначена экспертиза для подтверждения производственного брака, в течение 20 дней.
Если у продавца отсутствует необходимый для замены товар, замена должна быть проведена в течение месяца со дня предъявления требования.
Возврат денежных средств
Вид возврата зависит от вида оплаты, который изначально выбрал покупатель.
Срок возврата денежных средств осуществляется не позднее 10 дней после предъявления покупателем требования о возврате.
В корзине заказа вы можете выбрать один из вариантов оплаты:
Оплата наличными
- При доставке на у казанный вами адрес курьер привозит товар. Получая товара обязательно проверьте комплектацию и целостность. Курьер с товаром передает вам кассовый и товарный чек, гарантийный талон (если на товар предусмотрены гарантийные обязательства производителя). Все соответствует указанным условиям, покупатель подписывает товаросопроводительные документы и оплачивает наличные денежные средства курьеру.
- При самовывозе из магазина отгрузка товара осуществляется с такими же условиями как при доставке, только покупатель оплачивает наличные денежные средства в кассу магазина.
Оплата банковской картой 
- При доставке; оплату банковской картой можно произвести из оформленного заказа на сайте или курьеру при получении товара. Для оплаты картой курьеру необходим адрес вашей электронной почты для отправки кассового чека. Такие условия вызваны тем, что у курьера мобильный банковский терминал, который не печатает бумажные чеки.
- При самовывозе; банковской картой можно оплатить так же из заказа на сайте или в магазине через банковский терминал. Бумажный кассовый чек магазин выдает.
Инструкция: Как оплатить банковской картой на сайте
Электронные системы
Для оплаты вы можете воспользоваться электронной платёжной системой- Яндекс.Деньги.
Вас перенаправит на страницу платежного сервиса, следуя инструкциям, заполните правильную форму.
Наш интернет-магазин предлагает варианты отгрузки товара:
Доставка по Санкт-Петербургу и Ленинградской области.
- Доставка по Санкт-Петербургу — 500 руб.
- При покупке от 20000 руб. — доставка БЕСПЛАТНО до подъезда (в пределах КАД)
- За пределами КАД (в обе стороны) — 40 руб./км
- Стоимость доставки крупногабаритных товаров (длина более 3,5 м., ширина более 1,5 м.) уточняйте у менеджера!
- Петергоф - 700 руб.,
- Ломоносов - 900 руб.,
- Кронштадт - 1100 руб.,
- Лисий нос - 900 руб.
Самовывоз из магазина
Вы можете забрать товар в нашем магазине по адресу г. Санкт-петербург, пр. Пискаревский, дом 25 литера А. Отдельный вход с Львовской улицы, магазин InHouse. Время выдачи товара на самовывоз пн.- пт. с 10:00 до 19:00.
Доставка в регионы России.
Интернет-магазин InHouse осуществляет доставку в регионы России после 100% предоплаты. Доставка товара осуществляется с помощью транспортных компаний за счет покупателя. Доставка по Санкт-Петербургу до транспортной компании оплачивается покупателем согласно прайсу. Вы сможете сами выбрать любую подходящую транспортную компанию, имеющую офисы в Санкт-Петербурге, которая Вам удобна.
Порядок оформления доставки в регионы России:
- Вы оформляете заказ самостоятельно на сайте или по телефону вместе с менеджером.
- При оформлении заказа через сайт, не забудьте указать Ваши контактные данные.(Некоторые транспортные компании требуют паспортные данные грузополучателя)
- После подтверждения заказа ждите на e-mail (или любым другим способом который указали) счет на оплату через банк.
- Вы оплачиваете счет любым удобным способом.(Банковской картой Visa, Mastercard или банковским переводом, безналичным расчетом.)
- Мы доставляем товар до склада транспортной компании, на следующей день после прихода денег на расчетный счет нашего магазина.
