Не нашли, что искали отправьте ваш запрос на e-mail: info@inhouse-spb.ru в свободной форме.
Звоните по номеру телефона +7(812) 67-932-67, пн-пт 10-19 часов.
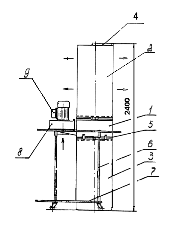
Фильтры ПУАД – 800; - 1200 и - 2000 состоят из корпуса 1 и присоединённых к нему фильтрующих (тканевых) 2 и накопительных (армированный полиэтилен) 3 мешков. Фильтрующие мешки подвешиваются на стойке 4 и крепятся к обечайке корпуса хомутами 5. Корпус 1 крепится к основанию 7 ножками 6.
Входной патрубок корпуса соединён c выходным патрубком вентилятора 8. Включение двигателя вентилятора осуществляется магнитным пускателем 9 с тепловой защитой. Для удобства передвижения и обслуживания фильтры – 800 и 1200 оборудованы колесами и тормозом, а фильтр – 2000 может поставляться в колесном исполнении и на ножках*.
Фильтры ПУАД – 3000 и 4000 состоят из воздуховода 1 установленного на подставках 8 и соединённого переходом 2 со стационарно установленным вентилятором 3 через гибкую вставку К воздуховоду под углом 30о крепятся фильтрующие устройства.
Каждое из устройств состоит из металлической обечайки 4 соединённой с воздуховодом 1. К обечайке сверху крепится фильтрующий мешок 5 закреплённый на стойке 6, а снизу накопительный мешок 7.
Производитель вправе вносить изменения, не ухудшающие технические характеристики изделия.
ГАРАНТИЯ НА ТОВАР
Гарантия качества товара - поручительство продавца, что товар не имеет недостатков. Покупатель имеет право, получая товар от продавца произвести осмотр и убедится в качестве товара. Магазин InHouse предоставляет гарантии качества и возможности осмотра товара.
Гарантийный срок устанавливается на основной товар и его части, эти сроки могут отличаться.
Гарантийный срок – период времени за который покупатель может обратиться к продавцу или производителю в случае обнаружения скрытых недостатков или брака товара. Получая претензию, продавец имеет право произвести экспертизу товара для подтверждения, что недостатки являются производственным браком. Срок гарантии могут устанавливать производитель, что указывается в гарантийном талоне или если нет гарантии от производителя, то продавец. В магазине InHouse гарантийный срок составляет 12 месяцев.
ГАРАНТИЙНОЕ ОБСЛУЖИВАНИЕ.
Гарантийное обслуживание осуществляется авторизированным сервисным центром при наличии гарантийного талона или чека. Адреса и телефоны сервисных центров указаны в гарантийном талоне или их можно узнать в нашем магазине.
При обращении на гарантийное обслуживание возможны варианты решения:
- устранение недостатков товара в сервисных центрах производителя;
- обмен на такой же товар без доплаты;
- обмен на другой товар с доплатой;
- возврат товара и денежных средств покупателю.
ВОЗВРАТ ИЛИ ОБМЕНА ТОВАРА.
Потребитель имеет право вернуть или обменять купленный товар в Интернет-магазине InHouse в течении 14 дней, не считая дня его покупки.
Возврат или обмен товара покупателем должен быть заранее согласован с менеджером магазина по телефону (812) 679-32-67 или на e-mail магазина: info@inhouse-spb.ru о дате, когда и как будет произведен возврат или обмен товара.
Обмен и возврат качественного товара:
- Нет следов в эксплуатацию и имеет товарный вид,
- находится в упаковке со всеми ярлыками,
- документы или чеки, подтверждающие факт покупки товара в нашем магазине,
- товар не входит в перечень продуктов надлежащего качества, не подлежащих возврату и обмену.
Покупатель имеет право обменять товар надлежащего качество на другой товар с равной ценой, на товар с доплатой или возвратом разницы в цене.
Обмен и возврат некачественного товара
После приобретения товара и обнаружения недостатков покупатель имеет право потребовать замену у продавца. Замена должна быть выполнена в течении 7 дней со дня предъявления требования. В случае, если будет назначена экспертиза для подтверждения производственного брака, в течение 20 дней.
Если у продавца отсутствует необходимый для замены товар, замена должна быть проведена в течение месяца со дня предъявления требования.
Возврат денежных средств
Вид возврата зависит от вида оплаты, который изначально выбрал покупатель.
Срок возврата денежных средств осуществляется не позднее 10 дней после предъявления покупателем требования о возврате.
В корзине заказа вы можете выбрать один из вариантов оплаты:
Оплата наличными
- При доставке на у казанный вами адрес курьер привозит товар. Получая товара обязательно проверьте комплектацию и целостность. Курьер с товаром передает вам кассовый и товарный чек, гарантийный талон (если на товар предусмотрены гарантийные обязательства производителя). Все соответствует указанным условиям, покупатель подписывает товаросопроводительные документы и оплачивает наличные денежные средства курьеру.
- При самовывозе из магазина отгрузка товара осуществляется с такими же условиями как при доставке, только покупатель оплачивает наличные денежные средства в кассу магазина.
Оплата банковской картой 
- При доставке; оплату банковской картой можно произвести из оформленного заказа на сайте или курьеру при получении товара. Для оплаты картой курьеру необходим адрес вашей электронной почты для отправки кассового чека. Такие условия вызваны тем, что у курьера мобильный банковский терминал, который не печатает бумажные чеки.
- При самовывозе; банковской картой можно оплатить так же из заказа на сайте или в магазине через банковский терминал. Бумажный кассовый чек магазин выдает.
Инструкция: Как оплатить банковской картой на сайте
Электронные системы
Для оплаты вы можете воспользоваться электронной платёжной системой- Яндекс.Деньги.
Вас перенаправит на страницу платежного сервиса, следуя инструкциям, заполните правильную форму.
Наш интернет-магазин предлагает варианты отгрузки товара:
Доставка по Санкт-Петербургу и Ленинградской области.
- Доставка по Санкт-Петербургу — 500 руб.
- При покупке от 20000 руб. — доставка БЕСПЛАТНО до подъезда (в пределах КАД)
- За пределами КАД (в обе стороны) — 40 руб./км
- Стоимость доставки крупногабаритных товаров (длина более 3,5 м., ширина более 1,5 м.) уточняйте у менеджера!
- Петергоф - 700 руб.,
- Ломоносов - 900 руб.,
- Кронштадт - 1100 руб.,
- Лисий нос - 900 руб.
Самовывоз из магазина
Вы можете забрать товар в нашем магазине по адресу г. Санкт-петербург, пр. Пискаревский, дом 25 литера А. Отдельный вход с Львовской улицы, магазин InHouse. Время выдачи товара на самовывоз пн.- пт. с 10:00 до 19:00.
Доставка в регионы России.
Интернет-магазин InHouse осуществляет доставку в регионы России после 100% предоплаты. Доставка товара осуществляется с помощью транспортных компаний за счет покупателя. Доставка по Санкт-Петербургу до транспортной компании оплачивается покупателем согласно прайсу. Вы сможете сами выбрать любую подходящую транспортную компанию, имеющую офисы в Санкт-Петербурге, которая Вам удобна.
Порядок оформления доставки в регионы России:
- Вы оформляете заказ самостоятельно на сайте или по телефону вместе с менеджером.
- При оформлении заказа через сайт, не забудьте указать Ваши контактные данные.(Некоторые транспортные компании требуют паспортные данные грузополучателя)
- После подтверждения заказа ждите на e-mail (или любым другим способом который указали) счет на оплату через банк.
- Вы оплачиваете счет любым удобным способом.(Банковской картой Visa, Mastercard или банковским переводом, безналичным расчетом.)
- Мы доставляем товар до склада транспортной компании, на следующей день после прихода денег на расчетный счет нашего магазина.
